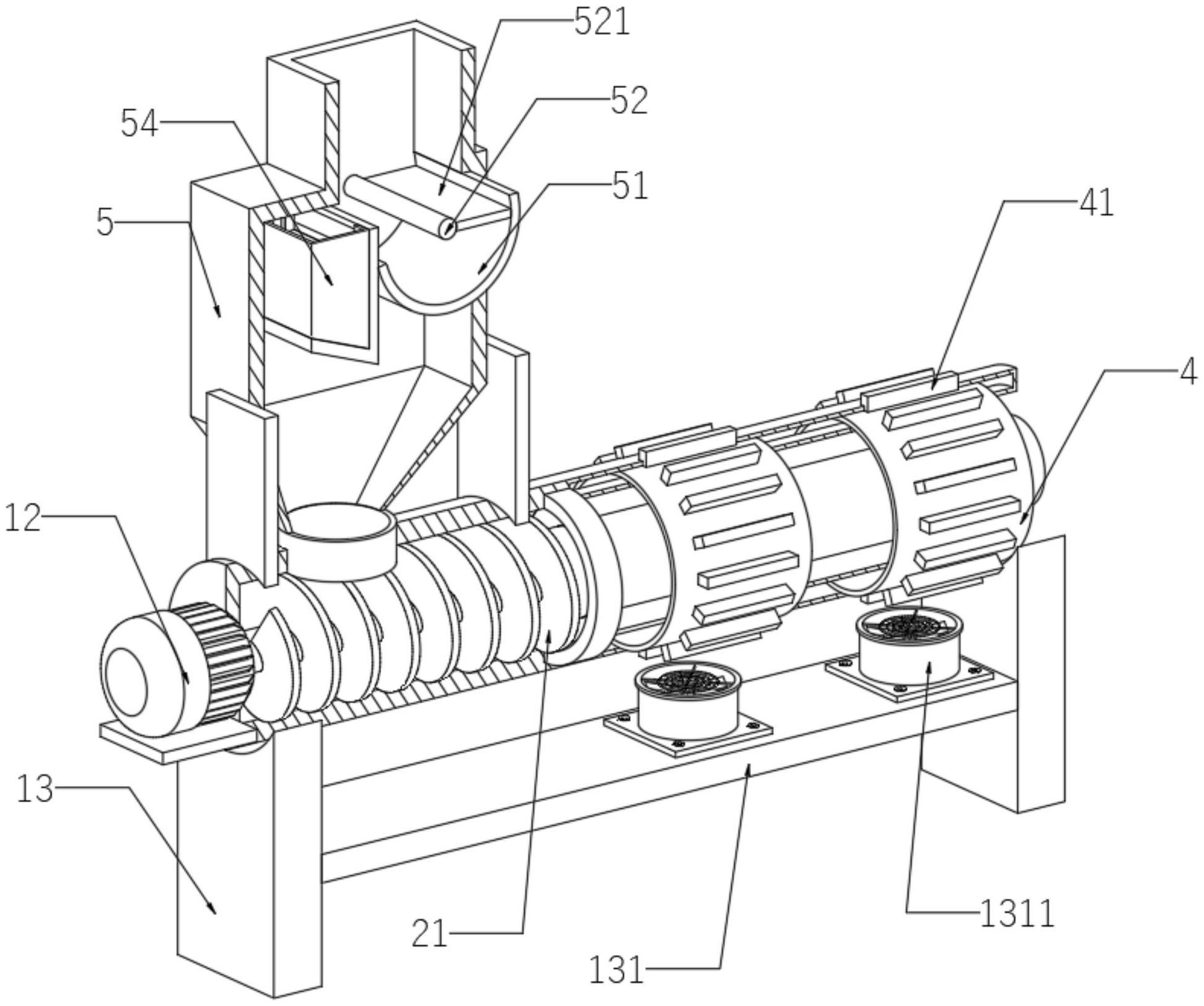
一种挤出模具及挤出设备的制作方法 Template




You need a modern browser try chrome, to view this.

Background image: Hide Show

View Larger Image Image Credit: xjishu.com






Try and sketch some of thesePreacher, Peaches, Hydrant, Cabbage, Saw, Highway, Measles, Zinnia, Airship, Fabric, view more ideas


please wait, the page is loading...

More Sketches

Take a peek at some of the sketches created by our users, are you a sketchite?

anonymous
anonymous
sketch #1122 norooz


Jorge Valero
sketch #2664


sketchmaster
sketch #2635 Zoidberg by sketchmaster


anonymous
anonymous
sketch #3688


anonymous
anonymous
sketch #4921


anonymous
anonymous
sketch #2939 Eye by Kimmy Kitty Perry Priemus


anonymous
anonymous
sketch #3613


anonymous
anonymous
sketch #3174 John Snow Helga Fon Stein


anonymous
anonymous
sketch #2337


anonymous
anonymous
sketch #4698


anonymous
anonymous
sketch #4688


anonymous
anonymous
sketch #5084 Harry Potter by Enrique L. Manly


anonymous
anonymous
sketch #1131 nərgiz


anonymous
anonymous
sketch #1453


anonymous
anonymous
sketch #1145


anonymous
anonymous
sketch #2889


anonymous
anonymous
sketch #1253


anonymous
anonymous
sketch #4358 Wink Károly Benkő


anonymous
anonymous
sketch #3365 Igor by Johan Kennet Espinoza Moreno


anonymous
anonymous
sketch #1060


anonymous
anonymous
sketch #5173 Super Meat Boy by Zorka Edding Giustinianovic


anonymous
anonymous
sketch #4882 Monsters University by John Davis


anonymous
anonymous
sketch #5092 Silvers Rayleigh by Wasim Khan


anonymous
anonymous
sketch #1114 fire flame camping bonfire


Jay Lantz
sketch #3743 Just for fun


anonymous
anonymous
sketch #4661 Woodpecker by Hsien-Ying Hsieh


Loai Issa
sketch #2668 Butterfly by Loai Issa


sketchmaster
sketch #2434 Metallica

tomski一种挤出模具及挤出设备的制作方法 coloring