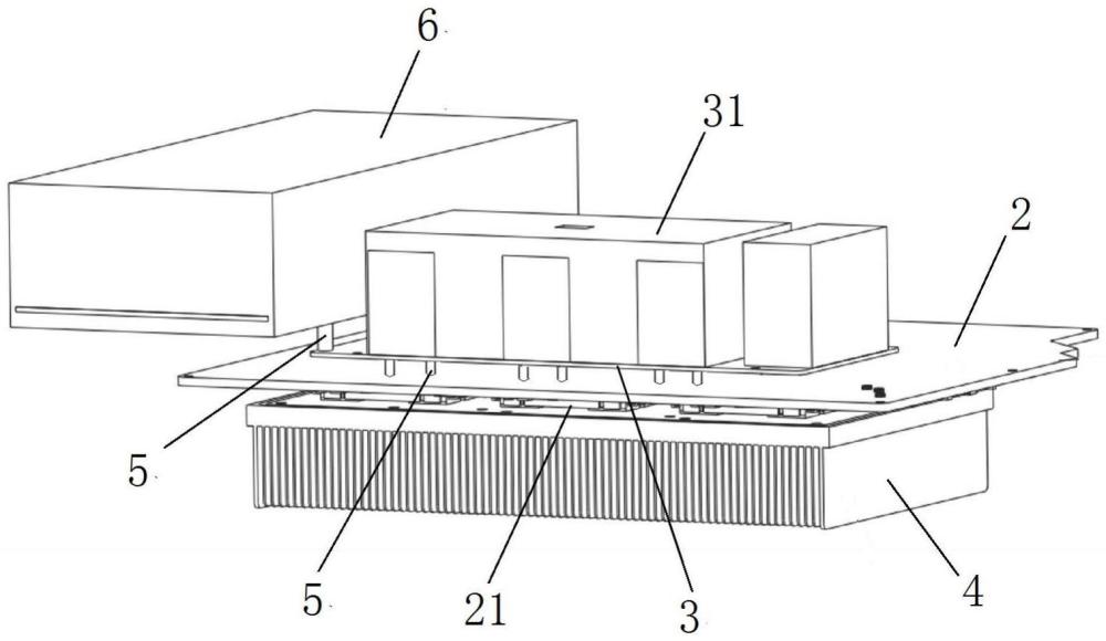
一种高功率密度扁平化整流逆变模组的制作方法 Template




You need a modern browser try chrome, to view this.

Background image: Hide Show

View Larger Image Image Credit: xjishu.com






Try and sketch some of theseMustard, Silverfish, Cucumber, Army, Anthill, Juggler, Yo-yo, Dolphin, Campfire, Hot dog, view more ideas


please wait, the page is loading...

More Sketches

Take a peek at some of the sketches created by our users, are you a sketchite?

anonymous
anonymous
sketch #5119


Jayme Sousa
sketch #2729 Luffy by Jayme Sousa


anonymous
anonymous
sketch #5207 Gorilla by Jean-Benoit Renaud


anonymous
anonymous
sketch #4945


anonymous
anonymous
sketch #3974 Bird Skerch w/ vibration


anonymous
anonymous
sketch #4755


anonymous
anonymous
sketch #1068 dançando


anonymous
anonymous
sketch #5187


anonymous
anonymous
sketch #3268 Werewolf by Mert Arda Yiğit


anonymous
anonymous
sketch #5206


anonymous
anonymous
sketch #4975 Orange by Marcos Roberto Molina


anonymous
anonymous
sketch #5171


anonymous
anonymous
sketch #2562


Mahmed Alhaj
sketch #3695


Charlie Vo
sketch #2018


anonymous
anonymous
sketch #3779 RIP Hugo Chavez Joey Hyuuga


anonymous
anonymous
sketch #5070 The Rolling Stones by Roby Krdoso


anonymous
anonymous
sketch #4691 Itachi by Jaqueline Salazar


anonymous
anonymous
sketch #3232


anonymous
anonymous
sketch #4429 Spongebob by Brenda Peña


anonymous
anonymous
sketch #5079 SketchToy Pencil by Sarah Prieto


anonymous
anonymous
sketch #4632


anonymous
anonymous
sketch #5297 Journey by Dmitry Sidorenko


anonymous
anonymous
sketch #3261


anonymous
anonymous
sketch #5211


anonymous
anonymous
sketch #4414

tomski一种高功率密度扁平化整流逆变模组的制作方法 coloring